Als Hamerscher Herd (HH) (registrierte Wortmarke) werden von Anhängern der von Ryke Geerd Hamer erfundenen Germanischen Neuen Medizin (GNM) bestimmte Strukturen (meist im Hirn) bezeichnet, die laut GNM ausschließlich in einem Computertomogramm bei bestimmten Phasen einer Krankheit erkennbar wären und sich zur GNM-eigenen Diagnostik eignen sollen. Außerhalb der GNM ist dieser Begriff unbekannt und wurde wissenschaftlich weder rezipiert noch anerkannt. Mehrere Stellungnahmen von Radiologie-Experten widersprechen der GNM-Lehre in diesem Punkt und weisen nach, dass die von Hamer als HH bezeichneten Strukturen entweder technische Artefakte oder körpereigene Strukturen ohne eine besondere pathologische Bedeutung sind oder es sich um seit langem gut bekannte pathologische Veränderungen handelt, und dass der Nichtradiologe Hamer bei diesen Strukturen zu einer seit Jahren anhaltenden Fehldeutung kommt. Es gibt keinen einzigen seriösen Nachweis der Existenz eines derartigen so genannten Hamerschen Herdes. Alle bis dato von Hamer vorgelegten Computertomogramme lassen sich problemlos radiologisch als technisch bedingte Artefakte, Hirntumoren, Zysten oder übliche anatomische Strukturen einordnen. Manche der von Hamer präsentierten Aufnahmen lassen sich eindeutig durch die anfängliche mangelhafte Technik der ersten Generationen von CT-Scannern erklären und wären mit heutigen Scannern nicht mehr reproduzierbar.
Die von Hamer postulierten HH sollen seiner Meinung nach in einem Zusammenhang mit dem so genannten "DHS" (Dirk-Hamer-Syndrom) seiner Lehre stehen, das auch Gegenstand seiner abgelehnten Habilitationsschrift an der Uni Tübingen war.
Hamer unterscheidet prinzipiell zwei unterschiedliche Hamersche Herde:
1. Hamerscher Herd in der so genannten ca-Phase (konfliktaktive Phase)
2. Hamerscher Herd in der so genannten pcl-Phase

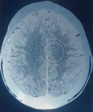
Laut Hamer sollen im Rahmen eines so genannten DHS innerhalb von Bruchteilen einer Sekunde im Hirn nicht näher erläuterte Veränderungen ablaufen, die sofort radiologisch in einem CT erkennbar wären und sich durch eine als Schießscheibenmuster bezeichnete Abfolge regelmäßiger exakter konzentrischer Kreise um ein angenommenes "Relaiszentrum" erkennbar machten. Die gemeinten ca-HHs sollen nach Hamer im Laufe der Zeit wachsen, sich also weiter ausdehnen. Weiter gibt Hamer an, dass es sich hierbei nicht um plötzliche Dichteänderungen handeln soll. Eine Entstehung von radiologisch erfassbaren Dichteänderungen in Sekundenbruchteilen ist darüberhinaus unmöglich. Da sich Kontraste im CT-Bild jedoch ausschließlich aufgrund von Dichteänderungen (in Hounsfield-Einheiten) im Gewebe ergebem, widerspricht sich hier die Hamer'sche Lehre selbst.
Das angenommene "Relaiszentrum" stünde, anatomisch gesehen, in einem logischen Zusammenhang mit bekannten auf- oder absteigenden Bahnen des zentralen Nervensystems. Auf die Natur dieses angenommenen Phänomens angesprochen, sprach Hamer anfänglich von hypothetischen und bislang der Medizin unbekannten "Kurzschlüssen" im Gehirn. Später vermuteten Anhänger seiner Lehre, es könne sich um bis dahin in der Radiologie unbekannte "Beugungsmuster" der Röntgenstrahlung handeln, blieben aber den Nachweis dafür schuldig. Prinzipiell kann Röntgenstrahlung, insbesondere die "weiche" Röntgenstrahlung, in der Tat gebeugt werden, allerdings nur in Anwesenheit von Kristallen. Da die angenommenen ca-HHs jedoch ausdrücklich instantan entstehen sollen und es zu keinerlei Zu- oder Abnahme von Hirnsubstanz kommen soll, ist die Hypothese eines "beugungsbedingten" Hamerschen Herdes unmöglich. Allenfalls kämen lokale Veränderungen im Hirnstoffwechsel (Sauerstoff- oder Glukoseumsatz) oder lokale Temperaturänderungen als Reaktion auf traumatisierende Ereignisse in Frage. Ihr Nachweis gelingt jedoch nicht mit der klassischen Computertomographie, sondern erforderte eine entsprechende funktionelle bildgebende Untersuchungsmethode (PET, funktionelle Kernspintomographie). Über mögliche derartige Untersuchungsergebnisse im Zusammenhang mit den hypothetischen Hamerschen Herden ist bislang nichts bekannt geworden.
Die von Hamer präsentierten "Schießscheibenmuster" sind eindeutig technisch bedingte Ringartefakte (engl.: ring artifact oder ring artefact), die Gegenstand der Radiologenausbildung und aufgrund ihrer Eigenschaften problemlos als solche erkennbar sind. So zeichnen sich derartige Ringartefakte durch eine mathematisch exakte Reihenfolge hypo- und hyperdenser Ringformationen aus, die vorhandene anatomische oder pathologische Strukturen überlagern und auf mehreren Schichten gleichförmig erscheinen. Eine Verlagerung vorhandener anatomischer Strukturen findet nicht statt, Hirnventrikel oder knöcherne Strukturen werden überlagert, was für pathologische Strukturen oder allgemein biologische Strukturen auszuschließen ist.
Hamer-Zitat: Es blieb der Streit um die sog. Ringartefakte, die es zwar gibt, die man aber nur bei jedem etwa 100. Patienten einmal sieht und von mir als HAMERsche HERDE in Schießscheiben-Konfiguration, sprich der konflikt-aktiven Phase, angesehen werden [...]
Ringartefakte lassen sich gut aus der Kenntnis des Aufbaus eines CT-Scanners erklären und treten auf, wenn es entweder zu einem Defekt an einem der zahlreichen Sensoren kommt oder zu Beginn der Computertomografie die Kalibrierung unterlassen wird. CT-Scanner müssen zyklisch kalibriert werden, manche ältere Typen beispielsweise mehrmals am Tag. Durch gezieltes Unterlassen einer Kalibrierung lassen sich auf Wunsch beliebige Ringartfakte künstlich erzeugen und bei entsprechender Lagerung des Patienten auch an jeder gewünschten Stelle im CT. Der mathematische Mittelpunkt der Ringstruktur stimmt dabei mit der Drehachse des Scanners überein, diese wird bei der Untersuchung durch einen Lichtstrahl auf die Haut des Patienten angezeigt.
Nach der Lehre der GNM sollen die hypothetischen HH der pcl-Phase Ödemen entsprechen und diese würden in der wissenschaftlichen Medizin angeblich als Hirntumor fehlinterpretiert werden. Das gemeinte Ödem entstünde durch vermehrtes Gliazellenwachstum (als Einlagerung bezeichnet), quasi als ein Reparaturversuch des Körpers. Eine Überprüfung dieser Hypothese könnte an neuropathologischen Korrelaten von als HH bezeichneten CT-Strukturen zweifelsfrei überprüft werden. Dies wurde aus unbekannten Gründen seit 1981 jedoch unterlassen.
Die bislang von Hamer vorgelegten CTs zu diesen hypothetischen HHs zeigen, dass er zweifellos anatomische Strukturen, Zysten oder Hirntumore mit seinen pcl-HHs verwechselte. Hirntumore gibt es aus GNM-Sicht allerdings nicht, da hier die Gehirn-Organ-Beziehung unklar wäre. Typischerweise verwechselt Hamer diese HH mit angeschnittenen Gyri der Rinde des Großhirns. Derartig im CT "angeschnittene" Gyri erscheinen als multiple, ovale oder rundliche Strukturen ohne jegliche pathologische Bedeutung.
In einem Forum der GNM-Anhänger namens Faktor-L des angeblichen Rabbi, GNM-Profiteurs und absoluten Laien (laut Hamer-Jargon) Christoph Lenz fand sich Juli 2008 eine von der Moderation völlig unbeanstandet gebliebene Aufforderung zum vorsätzlichen Betrug. Der Anstifter J.B. schreibt aus der Anonymität heraus, um einer Frage des ebenfalls anonymen Andy zu antworten. Zitat aus dem Forum:
[...] Begründung für CT (24.7.2008) Andy: Welche Begründung kann man dem Hausarzt bzw. dem Radiologen für das Hirn-CT ohne Kontrastmittel geben ohne gleich mit der Tür ins Haus zu fallen? [...]
Antwort J.B.: Heftige andauernde Kopfschmerzen!!! Verschreibung des CT am Besten durch einen Hausarzt oder einen Neurologen. Daß das von Dir aus ohne Kontrastmittel gehen soll, erst beim Radiologen klären. Sollte der Hausarzt oder Neurologe schon das Kästchen mit Kontrastmittel angekreuzt haben, beim Radiologen darauf verweisen, daß Du das übersehen hättest und das auch nicht mit dem überweisenden Arzt besprochen hättest und dann auf Deine Allergie gegen die Kontrastmittel verweisen. Vor Anwendung eines Kontrastmittels mußt Du nämlich dem Radiologen eine Einverständniserklärung ausstellen. Bei Anwendung des Kontrastmittels ohne Deine Einverständniserklärung würde sich nämlich der Radiologe im Ernstfall der Körperverletzung schuldig machen. J.B.
Das 'mit der Tür ins Haus fallen' bezieht sich auf den Wunsch nach einem Gratis-Schädel-CT nach Ryke Geerd Hamer für Krankenversicherte. Der Vorschlag des anonymen J.B. ist eine Aufforderung zum Verstoß gegen die Röntgenverordnung (RÖV) und eine Aufforderung zum Betrug an Krankenkassenbeitragszahlern und Krankenkassen: GNM-Anhänger sollen hier als Simulanten mit der fingiertenDiagnose Kopfschmerz Hausärzte und Radiologen zu einem völlig überflüssigen Schädel-CT verleiten. Denkbar ist auch, dass hier GNM-Simulant und sympatisierender Radiologe Hand in Hand arbeiten. Ein analoger Fall ist im Fernsehen aus Köln dokumentiert worden. Dort verleitete vor Jahren ein GNM-Heilpraktiker einen befreundeten Radiologen zu einer Fehldiagnose. Da bei einigen Unfällen, die Kopfschmerzen zur Folge haben, innerhalb der Folgestunden ein lebensbedrohliches subdurales Hämatom (mögliche Folge: tödliche, so genannte 'untere Einklemmung') entstehen kann, sind Ärzte bei der Verdachtsdiagnose tatsächlich verpflichtet, diesen Verdacht radiologisch auszuschließen. Auf diese perfide Weise gelingt es also dem GNM-Simulaten einen Arzt zu einer unnötigen CT-Diagnostik des Schädels zu verleiten. Dies zu Lasten der ehrlichen Beitragszahler, die hier wie die Krankenkassen betrogen werden. Radiologen werden verleitet gegen die RÖV zu verstoßen.[1][2][3]
Anfang 2007 wurde der Präsident der Deutschen Röntgengesellschaft, Prof. Reiser, um eine Stellungnahme gebeten.
Stellungnahme zu den Beurteilungen Hamers in seinem Buch "Vermächtnis einer Neuen Medizin (Bd. 1 und 2)" von Prof. Dr. Dr. Maximilian Reiser, Präsident der dt. Röntgengesellschaft vom 22.01.2007
Zitat: Gerne bestätige ich Ihnen, dass die in dem "Werk" von Herrn Hamer abgebildeten Computertomogramme von dem Autor völlig unsachgemäß interpretiert wurden und in klarem Widerspruch zu den wissenschaftlich begründeten Kenntnissen und Erfahrungen stehen. Eine argumentative Auseinandersetzung mit dem Inhalt der Hamer´schen Theorien und den daraus abgeleiteten Bewertungen der computertomographischen Bilder halte ich nicht für möglich bzw. Ziel führend, weil sich Herr Hamer in einer hermetisch abgeschlossenen Gedankenwelt bewegt und jede Kritik als Ausdruck einer bornierten "Schulmedizin" ablehnt.
Die von Ihnen anhand einiger CT-Befunde erhobenen Korrekturen möchte ich ausdrücklich bestätigen.
Gerne dürfen Sie diese Stellungnahme als die des Präsidenten der Deutschen Röntgengesellschaft zitieren.
Mit freundlichen Grüßen, Ihr M. Reiser



· Die Schweizerische Studiengruppe für komplementäre und alternative Methoden bei Krebs SKAK schreibt zu den Hamerschen Herden: [4] Die «Hamer׳schen Herde» auf CT-Bildern in Hamers Büchern werden von radiologischen Experten als typische Artefakte des Röntgengeräts identifiziert, die bei einer qualitativ minderwertigen CT-Aufnahme auftreten können [...].
· Der dänische holistisch-inspirierte Autor Sören Ventegodt schreibt: The concentric circles in the Hamer focus, shown on the front page of his book[1], look like an artefact and very little as a biological phenomena, which in humans are almost never seen as concentric circles [...].[5]
· Die Bezirksärztekammer Rheinhessen warnt in einer Stellungnahme mit dem Titel Keine rechtfertigende Indikation:Die auf der Homepage der Hamer-Unterstützer zugänglichen Abbildungen sog. „Hamer' scher Herde" zeigen jedoch eindeutig nur Kreisartefakte, wie sie bei CT Geräten älterer Bauart auftreten können, wenn diese technisch nicht einwandfrei arbeiten, (mangelnde Kalibrierung der Röhre , bzw. gealterte und/oder defekte Detektoren). Bei einer Untersuchung an einem ordnungsgemäß gewarteten CT Gerät treten solche Bilder nicht auf. Die Abbildung von Artefakten hat keinerlei gesundheitlichen Nutzen für die Patienten. Eine CT-Untersuchung des Schädels mit dem Ziel der Detektion „Hamerscher Herde" ist somit nach RöV*) eindeutig nicht zulässig. Wenn Tumorpatienten im finalen Stadium auf die Überweisung zu einer CT Untersuchung des Schädels drängen, sollte deshalb sehr genau hinterfragt werden, wer die Untersuchung wünscht, und vor allem, welchem Zweck sie dienen soll. Wir möchten Sie deshalb bitten, sowohl Radiologen als auch die zu radiologischen Untersuchungen überweisenden Ärzte in ihrem Bereich auf das leider noch immer zu beobachtende Vorgehen von Heilpraktikern, die sich der „Hamer'sehen Lehre" verschrieben haben, aufmerksam zu machen...Quelle: [6]
· Das Ärzteblatt Baden-Württemberg warnte in seiner Ausgabe 08/2008 (Seite 11):"Hamersche Herde" - Keine Indikation für Schädel-CT. Nach Informationen der Deutschen Röntgengesellschaft (DRG) kommt es immer wieder vor, dass Tumorpatienten in der Hamerschen Lehre ihre letzte Zuflucht sehen. Ein Ergebnis ist dann nicht selten das Nachsuchen um eine native CT-Untersuchung, um so genannte "Hamersche Herde" zu entdecken, aus dem Vorhandensein dann eine Therapie abgeleitet werden könne. Diese Herde zeigen nach DRG-Angaben jedoch nur Kreisartefakte, wie sie bei CT-Geräten älterer Bauart auftreten können, wenn diese technisch nicht einwandfrei arbeiten. Die DRG empfiehlt daher: Wenn Tumorpatienten im finalen Stadium auf die Überweisung zu einer CT-Untersuchung des Schädels drängen, sollte sehr genau hinterfragt werden, wer die Untersuchung wünscht und vor allem, welchem Zweck sie dienen soll. Eine CT-Untersuchung des Schädels mit dem Ziel der Detektion "Hamerscher Herde" ist nach der Röntgenverordnung nicht zulässig, so die DRG. Quelle:[7]

Hierbei handelt es sich um eine Bescheinigung der Fa. Siemens von 1989 über acht Ausschlusskriterien von Artefakten im Hirn-CT, die auf Anregung von Hamer erstellt wurde und ansonsten nicht veröffentlicht wurde, sondern offenbar Hamer zur eigenen Verwendung überlassen wurde. Dieses Schreiben, das seltsamerweise auch von Hamer selbst unterzeichnet wurde, kann aber nicht als Nachweis für die Richtigkeit der „eisernen Regeln des Krebses“ oder seiner Hamerschen Herde dienen. Die Bescheinigung der Fa. Siemens zertifiziert definitiv nicht, dass es sich bei den von Hamer beobachteten und in diversen eigenen Publikationen veröffentlichten Ringen nicht um Artefakte handelt, sondern beschreibt 7 Ausschlusskriterien (in der Einleitung ist dagegen merkwürdigerweise von 8 die Rede). Dies muss Hamer selbst aufgefallen sein, denn er versuchte nachträglich ein weiteres Gutachten mit anderem Wortlaut von Siemens zu erhalten, was ihm jedoch nicht ausgestellt wurde. In seiner „Kurzeinführung in die Neue Medizin“ schreibt Hamer zur Entstehungsgeschichte des Dokuments: Ich meldete mich mit einem „Anliegen“ bei dem Chef der Computertomographie-Abteilung der Herstellungsfirma Siemens, Herrn Feindor. Wir hatten eine angenehme Besprechung, in deren Verlauf ich ihn bat, dass wir beide miteinander zusammen festlegen möchten, welche Kriterien beim Ringartefakt erfüllt sein müssten und wann sicher kein Ringartefakt vorliegen könne. Herr Feindor ist Ingenieur, und wir hatten überhaupt keine Probleme die Bedingungen festzulegen, die in diesem oder in jenem Fall erfüllt oder nicht erfüllt sein dürften. Das war am 18.12.89. Am 22.12.89 wurde das endgültige Protokoll unterzeichnet [...] Hamer hat also die Kriterien für die Artefakte selbst festgelegt. Doch dabei hat er sich ein Bein gestellt, denn er schreibt, dass kein Artefakt des CT vorläge, wenn eine Struktur auch im NMR (MRT/Kernspintomographie) oder in der Wiederholung des CT mit anderer Positionierung des Patienten nachzuweisen wäre. Das ist auch vollkommen logisch und nachvollziehbar. Nur konnte ein Hamer-Herd bislang noch nie in einem NMR/MRT nachvollzogen werden. In Hamers Aufzeichnungen findet sich kein einziger Fall eines Patienten, bei dem ein und derselbe „Hamer-Herd“ sowohl im CT als auch im NMR zu finden gewesen wäre. Auch fehlt bislang jeder Beleg dafür, dass jemals ein „Hamer-Herd“ bei einem erneuten CT an gleicher Stelle wieder gefunden worden wäre. Daher ist dieses Schreiben völlig ungeeignet, die Hypothese der Existenz der so genannten Hamerschen Herde zu beweisen.
| Seite 209: eindeutiger Ringartefakt mit mindestens 7 konzentrischen Ringen, die sich über beide Hemisphären erstrecken ohne Gewebe zu verlagern. Die gezeigten Ringe dringen in die seitliche Wand der Kalotte ein und treten aus ihr wieder aus. Die gezeigten Artefakte können unmöglich biologischer Herkunft sein. Hamer sieht hier einen HH in ca-Phase. |
|
Seite 210: Ein weiterer eindeutiger und imposanter Ringartefakt mit mindestens 10 perfekt konzentrischen Ringen, die sich über beide Gehirnhälften erstrecken ohne bekannte anatomische Strukturen (wie Hirnventrikel) zu verlagern. Die Ringe treten aus der Kalotte ein und wieder aus. Hamer sieht hier einen HH nach einem Trennungskonflikt. |
| Seite 211: Ein weiterer Ringartefakt mit mindestens 20 konzentrischen Ringen. Die fissura longitudinalis ist nicht verlagert. Nach Hamer sehen wir die Aufnahme eines römischen Patienten der einen Konflikt erlitten hätte, nachdem er wegen illegaler Bautätigkeit angezeigt worden wäre. |
| Seite 212: Hamer sieht hier einen HH nach Trennungskonflikt. |
| Seite 215: Nach Hamer sollen wir hier zwei Hamersche Herde sehen. Der obere sei in Lyse, der untere wäre nach einem aktiven Trennungskonflikt aufgetreten. |
| Seite 217: Ringartefakt. Hamer erkennt hier einen tatsächlichen Ringartefakt und sieht zusätzlich zwei HH. |
| Seite 219: weitere zwei einfach zu erkennede Artefakte. |
| Seite 220: zwei Ringartefakte, einer jeweils pro Aufnahme. |
| Seite 223: zwei CT-Aufnahmen ein und desselben Patienten mit angeblichem Brustkrebs. Die Qualität ist sehr schlecht. Hamer meint, dass der Radiologe hier zwei Aufnahmen gemacht hätte und zwischenzeitlich die Patientin 2 cm seitlich verlagert worden wäre um ein Artefakt erkennen zu können. Allerdings ist auf diesen Aufnahmen keinerlei Ringartefakt zu erkennen. Die gezeigten Aufnahmen sind daher für diesen Zweck ungeeignet. Zu sehen sind normale Gyri und Sulci der Grosshirnrinde, die durch die CT-Schichten angeschnitten sind und daher ovale oder kreisförmige Strukturen zeigt (siehe Vergleichsaufnahme unten). Der neutrale Betrachter versteht hier nicht, warum Hamer selektiv sich auf eine einzelne Struktur bezieht und nicht auf gleiche Strukturen (hier: Gyri) an anderer Stelle. Hamer bestätigt hier, dass die Patientin zu rein (nicht geeigneten) experimentellen Zwecken doppelt untersucht wurde, und somit der doppelten Strahlendosis ausgesetzt wurde. Dies ist laut RÖV nicht zulässig, die Patientin hat hier Anspruch auf Schadenersatz. Derartige Versuche ließen sich auch an Wasserphantomen oder im Tierversuch machen. |
| Seite 224: CT eines Bankers aus London. |
| Seite 229: Kein Artefakt meint Hamer. |
| Seite 231: Eindeutiger Ringartefakt. Hamer schließt hier ein Artefakt aus, da die gezeigten Ringe nicht kreisrund wären. |
Die Bildqualität ist hier besser, da ein moderner Scanner eingesetzt wurde.
Neudings (etwa seit 2008) werden von Hamer-Anhängern, die medizinische Laien sind, neue Hypothesen ins Spiel gebracht, um die HH-Artefakte zu erklären. Dabei gehen diese Hamer-Jünger eigene Wege und berufen sich nicht auf eines der Hamer-Bücher, sondern auf eigene Einfälle. Dabei ist sogar von einem Zentralbeweis für die NM die Rede, der in diesem Zusammenhang erbracht worden wäre. Die neueste Hypothese (die gar nicht von Hamer stammt oder von ihm abgesegnet worden wäre), besagt, dass die Ringartefakte des CT-Bildes in Wirklichkeit auf das Vorhandensein einer spreading depression(SD, Streudepolarisationen) zurückzuführen wären, so wie sie erstmalig von dem brasilianischen Forscher Leão 1994 beschrieben wurde. Nach der neuen Hypothese, die unter anderem von Nicolas Rene Barro vertreten wird, käme es durch "anhaltende Potentialveränderungen in einem kleinen Bereich des Gehirns" zu einer "Anhäufung und Ungleichgewicht der intra- und extrazellulären Ionen. Hierdurch entsteht u.U. eine Art Miniatur-Kristallbildung, welche zwar selbst als Struktur nicht sichtbar ist, einen durchstrahlenden Röntgenstrahl jedoch in seiner Bahn biegen und in Kombination mit der Drehbewegung des CTs zu den sichtbaren Ca-Ringen führt." Außerdem würde die "Hypothese durch bereitwillige Radiologen erforscht", heißt es noch. Nach Hamer bedürfe jedoch seine Lehre keiner Hypothesen und eine Medizin, die auf Basis unwiderlegter Hypothesen handelt, wird ja bekanntlich als die Medizin der 5.000 Hypothesen verteufelt.
Die Hypothese, für die nichts weiter als Überlegungen angestellt werden, kann ganz einfach widerlegt werden: Eine spreading depression ist ein Vorgang, der mit bestimmten Einschränkungen der Wahrnehmung und Symptomen verläuft und streng auf eine der beiden Hemisphären begrenzt bleibt. Heutzutage wird eine SD beispielsweise mit Formen der Migräne in Zusammenhang gebracht. Eine SD verläuft progressiv über Minuten hinweg und bildet sich i.A. spontan zurück. Im CT lässt sich die nur minutenlang ablaufende SD nicht nachweisen, da keine Veränderung der Gewebsdichte und somit der Strahlentransparenz stattfindet. Sie ließe sich im EEG nachweisen, aber entsprechende beweisende Befunde werden von den Anhängern der neuen Hypothese nicht erbracht oder erwogen. Die SD betrifft nur eine Hemisphäre (Gehirnhälfte), die von Hamer gezeigten HH-Artefakte beziehen sich jedoch auf beide Hemisphären. Die in der Hypothese erwähnte Biegung von Röntgenstrahlung wäre eine Beugung. Dazu wären aber Kristalle notwendig und es käme sowieso nur zu mikroskopisch sichtbaren Beugungsmustern; diese wären auch wegen der Rückprojektion niemals im CT sichtbar. Da Hamer auch von HH-Herden bei Organen sprach, wäre die Annahme einer SD bei Organen ebenfalls unhaltbar.
In Kreisen der Hamer-Anhänger sind auch Versuche bekannt geworden, die präsentierten Ringartefakte als Röntgenbeugungsmuster von Kristallen zu werten. Teilweise ist dabei von einer möglichen Brechung von Röntgenstrahlen die Rede. Röntgenstrahlen werden an Materie aber im Gegensatz zu Licht nicht gebrochen (Refraktion), da die Brechzahl jedweder Materie für Röntgenstrahlung nur sehr wenig von 1 abweicht. Daher gibt es auch keine Röntgenlinsen oder Röntgenoptiken. Röntgenstrahlen können dagegen gebeugt werden. Die Röntgenbeugung wird in der Kristallographie zur Bestimmung und Vermessung von Einkristallen und deren geordneten Kristallgittern verwendet. Die Wellenlänge der Röntgenstrahlung ist dabei in etwa genauso groß wie die Gitterabstände im Kristall oder vergleichbar mit diesen Abständen (Die Wellenlänge von Röntgenstrahlen liegt in der Größenordnung von 1 pm bis 10 nm, was auch dem Abstand der Atome in den untersuchten Kristallen entsprechen muss). Röntgenbeugungsuntersuchungen werden nach dem Laue-Verfahren (X-Ray Diffraction / XRD, single crystal diffraction, http://jcrystal.com/steffenweber/JAVA/jlaue/jlaue.html) und nach dem aufwändigeren Debye-Scherrer-Verfahren (so genannte Powder Diffraction) durchgeführt (zusätzlich durch Verfahren, bei denen Neutronen zum Einsatz kommen). Sowohl für das Laue- wie auch für das Debye-Scherrer-Verfahren sind CT-Scanner nicht geeignet und die entstehenden Beugungsmuster sind in keinster Weise mit Ringartefakten der CT-Technik verwechselbar oder stellen sich gar auf CT-Röntgenfilmen dar. Bei CT-Untersuchungen entsteht das 2D-Schnittbild erst durch rein rechnerische Rückprojektion und stellt nicht etwaige Beugungsmuster winzigster Abmessungen von Kristallen dar. Beim Debye-Scherrer-Verfahren können bei Ausnutzung monochromatischer Strahlung und rotierendem Kristallpulver als Untersuchungsmaterial die so genannten Debye-Scherrer-Ringe in speziellen Diffraktometern beobachtet werden. Beim Laue-Verfahren kann ein herkömmliches Röntgenspektrum einer Röntgenröhre (Bremsstrahlung) angewandt werden, während beim Debye-Scherrer-Verfahren monochromatische Strahlung (einer bestimmten Wellenlänge) notwendig ist, deren Erzeugung eines großen technischen Aufwandes bedarf. Die Auswertung erfolgt in speziellen Einkristall-Diffraktometern oder Debye-Scherrer-Diffraktometern.
Gastbeitrag aus: Psiram